Хубеи Ксин Аненг Цонвеиинг Мацхинери Цо., Лтд.
Хубеи Ксин Аненг Цонвеиинг Мацхинери Цо., Лтд.
Вести

Одређивање протокола чистача

1.1 Одређивање програма за чишћење

Помести лепљиву траку угљене прашине која се придржавала. Као што сви знамо, сирови угаљ из рударског лица садржи различите степене влаге, а лако је обновити фини укусни угаљ на површину траке. Ако се пулверизовани угаљ повезан са траком, у празном угруку ће се ући у канти за складиштење каишева и ваљак под целокупни доњи појас у празном одељку (тј. Дио каишева) и биће углавном депонован у канти за складиштење каишева.

Главни резултати су:

Велики износ укусаног угља акумулира се у канти за складиштење каишева, који сахрањује ваљак за подршку, узрокујући да ваљку не успе да оперише и утиче на радни век појаса;

2) одступање операција појаса ће узроковати да се ивица висе или сузала несрећа;

3) Повећати отпорност на траку и повећати трошкове;

4) количина повећања угља чишћења, што повећава интензитет рада радника;

У употреби средстава за чишћење угља постоје три проблема да се решемо:

1) ефекат чишћења треба да буде добар;

2) Чистач је једноставан замена, а радно оптерећење одржавања треба да буде мали;

3) Мора постојати излаз за чишћење угљеног угља.

1. Анализа тренутне ситуације

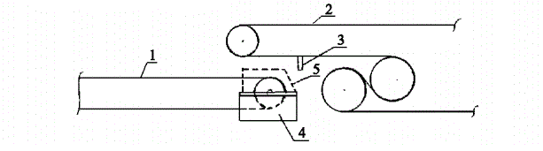
1) структура и положај традиционалног чистача угља


Као што се може видети са слике 2-1, средство за чишћење угља се углавном поставља на задњем делу бубња. Чистач угља је да поправите комад траке у средини два прслука да бисте формирали оквир за чишћење угља и структура ручице да се чистим касету држи за чишћење у шупљини за чишћење, користите напетост пролећа како би средство за чишћење угља и шупљи појас произвео одређени притисак и може да направе касету за угашење.

2) оштећења традиционалних средстава за чишћење угља

а. Чистач угља је састављен од траке за чишћење, а јер је доњи појас шупљи појас, појас се под притиском средство за чишћење угља, притисак средство за чишћење угља није довољан, а ефекат чишћења је лош.

6. Чишћење угља је на задњој страни бубња за истовар, а углавном је више од 1 м од истовара бубња, а угљен под чишћењем мора да обради мали цоппер за угаљ да би се угљени угаљ на следећем појасу, али понекад, јер је висина подземног простора није довољна, али понекад и висина подземног простора није довољна, а понекад и висина подземног простора није довољна.

ц. Замјенско оптерећење чистача угља је велик, што чистим угљем лако оштећује, а циклус замене је такође врло кратак.

3) Типични спојеви за транспорт ремена

Типичан каналски транспортни круг приказан је на слици 2-2.

Као што се може видети са слике 2-2, угаљ испод средство за чишћење угља не може се клизнути директно на каиш, а према одредбама "прописима о безбедности" рудника угља ", 35 покретачких делова свих опреме мора бити опремљен заштитним уређајем (тј. Облачно са штитом, а проблем је повећао проблем угља, проблем угља се повећава.

Повезане вести
Оставите ми поруку
X
Користимо колачиће да бисмо вам понудили боље искуство прегледања, анализирали саобраћај на сајту и персонализовали садржај. Коришћењем овог сајта прихватате нашу употребу колачића. Политика приватности
Одбити Прихвати